c语言程序设计第1章
开始记录自己学习c语言的过程,选用的教材是浙江大学何钦铭、颜晖编写的《c语言程序设计》(第3版)。
一、第一个程序
1 /*求阶乘问题。输入一个正整数n,输出n!*/
2
3 #include<stdio.h>
4
5 int factorial(int n); //函数声明,注意不能忘记引号
6
7 int main() //主函数
8 {
9 int n;
10
11 scanf_s("%d", &n);
12
13 printf("%d = %d\n", n, factorial(n));
14
15 return 0;
16 }
17
18 int factorial(int n) //定义计算n!的函数
19
20 {
21 int i, fact = 1;
22 for (i = 1; i <= n; i++)
23 {
24 fact = fact * i;
25 }
26
27 return fact;
28 }
二、习题
1、Lange&Tall不是合法标识符,因为合法的标识符只能由字母、数字和下划线组成,其中第一个字符必须是字母或下划线。
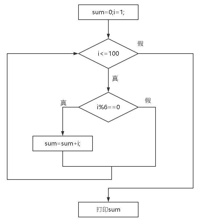
2、画流程图,求1~100中能被6整除的所有整数的和。

3、流程图的程序
#include<stdio.h>
int main()
{
int i, sum=0;
for (i = 1; i <= 100; i++)
{
if (i % 6 == 0)
{
sum = sum + i;
}
}
printf("%d", sum);
return 0;
}
4、流程图

对应的程序:
1 #include<stdio.h>
2
3 int main()
4 {
5 int n, i;
6
7 scanf_s("%d", &n);
8
9 for (i = 2; i < n; i++)
10 {
11 if (n % i == 0)
12 {
13 break;
14 }
15 }
16
17 if (i == n)
18 {
19 printf("Prime!");
20 }
21 else
22 {
23 printf("No!");
24 }
25
26 return 0;
27 }
